Product Summary
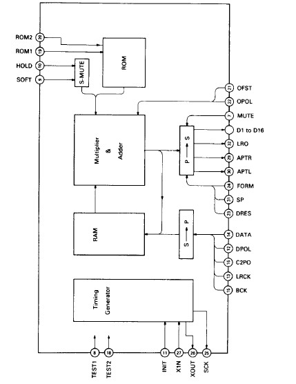
The CXD1465R is an over sampling digital filter LSI.
Parametrics
CXD1465R absolute maximum ratings: (1)Supply voltage Vqd: -0.5 to +6.5 V; (2)Input voltage Vi: -0.5 to VDD +0.5 V; (3)Storage temperature Tstg: -55 to +150℃; (4)Allowable power Pd: 450mW(Ta= 75℃).
Features
CXD1465R features: (1)83rd and 21st order filters linked through cascade connections provide a quadrupled sampling digital filter; (2)Built-in filters for 2 channels corresponding to L and R; (3)Variety of functions including soft-muting and offset addition; (4)83rd and 21st order filters also have 2 modes of filter coefficients each, to enable the selection of the most suitable filter characteristics, required for usage.
Diagrams

![]() |
![]() CXD1156Q |
![]() Other |
![]() |
![]() Data Sheet |
![]() Negotiable |
|
||||
![]() |
![]() CXD1159AQ |
![]() Other |
![]() |
![]() Data Sheet |
![]() Negotiable |
|
||||
![]() |
![]() CXD1162P |
![]() Other |
![]() |
![]() Data Sheet |
![]() Negotiable |
|
||||
![]() |
![]() CXD1170M |
![]() Other |
![]() |
![]() Data Sheet |
![]() Negotiable |
|
||||
![]() |
![]() CXD1171M |
![]() Other |
![]() |
![]() Data Sheet |
![]() Negotiable |
|
||||
![]() |
![]() CXD1172AM |
![]() Other |
![]() |
![]() Data Sheet |
![]() Negotiable |
|
||||
(Hong Kong)








