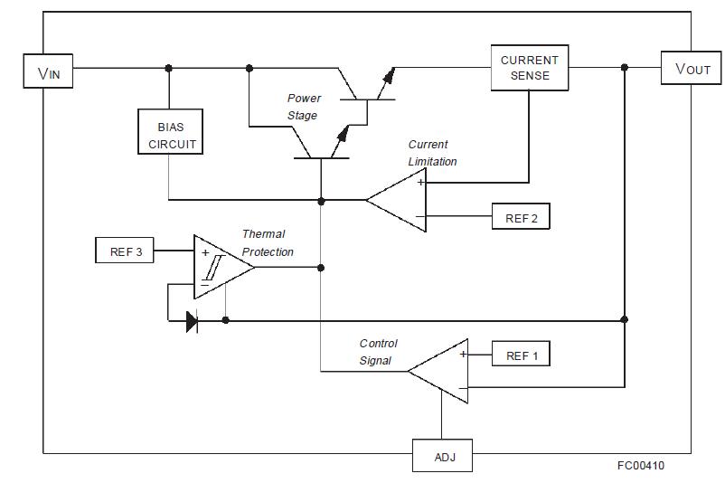
Product Summary
The VB408B is a fully protected positive adjustable voltage regulator made using a proprietary High Voltage VIPower technology. The VB408B can be connected to a D.C. source (up to 400V) or in off-line application directly to the rectified main (110V/230V). It is particularly suitable to be used in the manufacture of DC/DC converters, AC/DC converters, start-up circuits, pneumatic valve drivers and current sources. The VB408B is able to drive resistive or inductive loads with an output voltage from 1.25V to VIN-30V providing an internally limited output current; it has built in short circuit and thermal shutdown protections. The device does not provide galvanic insulation from main.
Parametrics
VB408B absolute maximum ratings: (1)Input to Output Voltage at 20 mA, VIN,OUT: -0.2 to 420 V; (2)Output current Internally, IOUT: limited mA; (3)Electrostatic discharge (R = 1.5kW, C = 100pF), VESD: 2000 V; (4)Power dissipation at TC = 25℃, Ptot: 89 to 89 W; (5)Junction operating temperature, Tj: -40 to 150℃; (6)Storage temperature, TSTG: -55 to 150℃.
Features
VB408B features: (1)Input voltage up to 400 VDC or 285 V RMS rectified; (2)Output voltage adjustable from 1.25 to VIN-30V; (3)Output current limited to 40 mA; (4)Thermal shut-down protection; (5)Short circuit protection.
Diagrams

| Image | Part No | Mfg | Description | ![]() |
Pricing (USD) |
Quantity | ||||||||||||
|---|---|---|---|---|---|---|---|---|---|---|---|---|---|---|---|---|---|---|
![]() |
![]() VB408B |
![]() Other |
![]() |
![]() Data Sheet |
![]() Negotiable |
|
||||||||||||
| Image | Part No | Mfg | Description | ![]() |
Pricing (USD) |
Quantity | ||||||||||||
![]() |
![]() VB400 |
![]() Extech |
![]() Datalogging & Acquisition Pen Vibration Meter |
![]() Data Sheet |
![]()
|
|
||||||||||||
![]() |
![]() VB40100C |
![]() General Semiconductor/Vishay |
![]() DUAL SCHOTTKY RECT 100V TO263AB |
![]() Data Sheet |
![]() Negotiable |
|
||||||||||||
![]() |
![]() VB40100C-E3/4W |
![]() Vishay Semiconductors |
![]() Schottky (Diodes & Rectifiers) 40 Amp 100 Volt |
![]() Data Sheet |
![]()
|
|
||||||||||||
![]() |
![]() VB40100C-E3/8W |
![]() Vishay Semiconductors |
![]() Schottky (Diodes & Rectifiers) 40 Amp 100 Volt Dual TrenchMOS |
![]() Data Sheet |
![]()
|
|
||||||||||||
![]() |
![]() VB40100G |
![]() Other |
![]() |
![]() Data Sheet |
![]() Negotiable |
|
||||||||||||
![]() |
![]() VB40100G-E3/4W |
![]() Vishay Semiconductors |
![]() Schottky (Diodes & Rectifiers) 40 Amp 100 Volt |
![]() Data Sheet |
![]()
|
|
||||||||||||
(Hong Kong)










