Product Summary
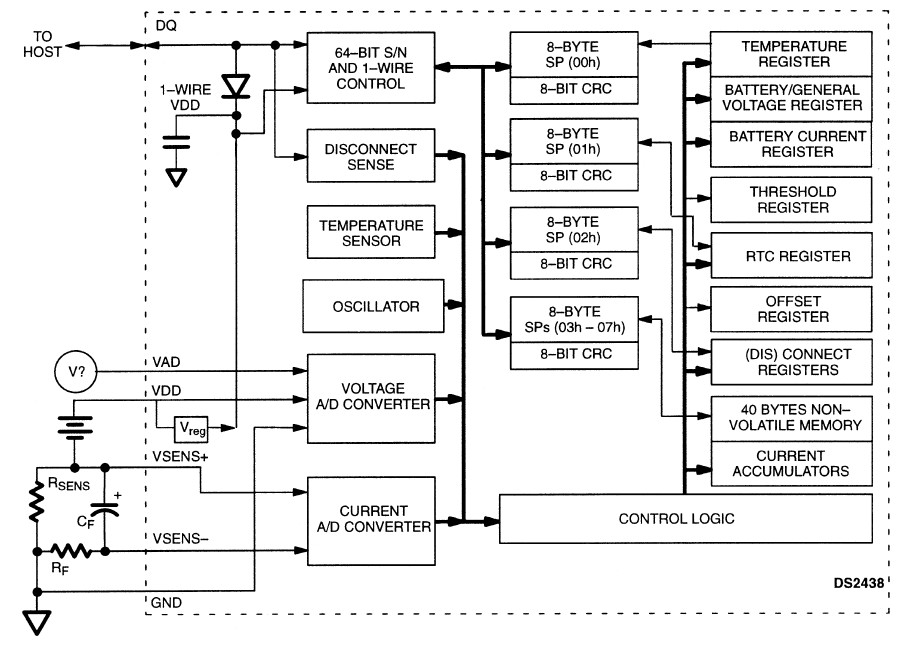
The ds2438z+ is a Smart Battery Monitor. It provides several functions that are desirable to carry in a battery pack. Information is sent to/from the ds2438z+ over a 1-Wire interface, so that only one wire (and ground) needs to be connected from a central microprocessor to a ds2438z+. This means that battery packs need only have three output connectors: battery power, ground, and the 1-Wire interface. Applications include portable computers, portable/cellular phones, consumer electronics, and handheld instrumentation.
Parametrics
ds2438z+ absolute maximum ratings: (1)Voltage on VDD and VAD, Relative to Ground: -0.3V to + 12V; (2)Voltage on VSENS+, VSENS-, Relative to Ground: <±300 mV; (3)Voltage on Any Pin Relative to Ground: -0.3V to + 7.0V; (4)Operating Temperature: -40℃ to +85℃; (5)Storage Temperature: -55℃ to +125℃.
Features
ds2438z+ features: (1)Unique 1-Wire interface requires only one port pin for communication; (2)Provides unique 64-bit serial number to battery packs; (3)Eliminates thermistors by sensing battery temperature on-chip; (4)On-board A/D converter allows monitoring of battery voltage for end-of-charge and end-of-discharge determination; (5)On-board integrated current accumulator facilitates fuel gauging; (6)Elapsed time meter in binary format; (7)40-byte nonvolatile user memory available for storage of battery-specific data; (8)Operating range -40℃ to +85℃.
Diagrams

| Image | Part No | Mfg | Description | ![]() |
Pricing (USD) |
Quantity | ||||||||||||
|---|---|---|---|---|---|---|---|---|---|---|---|---|---|---|---|---|---|---|
![]() |
![]() DS2438Z+ |
![]() Maxim Integrated Products |
![]() Battery Management Smart Battery Monitor |
![]() Data Sheet |
![]()
|
|
||||||||||||
![]() |
![]() DS2438Z+T&R |
![]() Maxim Integrated Products |
![]() Battery Management Smart Battery Monitor |
![]() Data Sheet |
![]()
|
|
||||||||||||
(Hong Kong)










