Product Summary
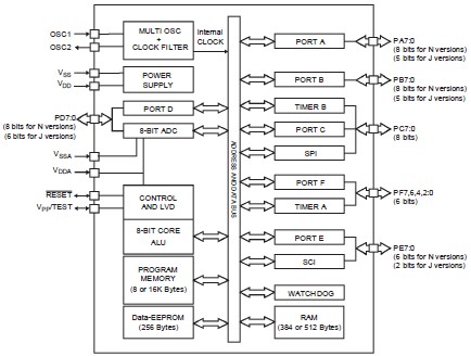
The st72c334n4b6 is an 8-bit MCU with single voltage flash memory. It is based on a common industrystandard 8-bit core, featuring an enhanced instruction set. It features single-voltage FLASH memory with byte-by-byte In-Situ Programming(ISP) capability. The st72c334n4b6 also can be placed in WAIT, SLOW, ACTIVE-HALT or HALT mode, reducing power consumption when the application is in idle or standby state.
Parametrics
st72c334n4b6 absolute maximum ratings: (1)VDD - VSS Supply voltage: 6.5 V; (2)VDDA - VSSA Analog reference voltage VDDA > VSS: 6.5 V; (3)|VDD_i - VDD_j| |VDD_i- VDDA| Max. variations (power line): 50 mV; (4)|VSS_i - VSS_j| |VSS_i - VSSA| Max. variations (ground line): 50 mV; (5)VIN Input voltage: VSS - 0.3 to VDD + 0.3 V; (6)VOUT Output voltage: VSS - 0.3 to VDD + 0.3 V; (7)ESD ESD susceptibility: 2000 V; (8)IVDD_i Total current into VDD_i (source): 150 mA; (9)IVSS_i Total current out of VSS_i (sink): 150 mA.
Features
st72c334n4b6 features: (1)8K or 16K Program memory(ROM or Single voltage FLASH) with read-out protection; (2)256-bytes EEPROM Data memory; (3)In-Situ Programming (Remote ISP); (4)Enhanced Reset System; (5)Low voltage supply supervisor with 3 programmable levels; (6)Low consumption resonator or RC oscillators and by-pass for external clock source, with safe control capabilities; (7)4 Power saving modes; (8)Standard Interrupt Controller.
Diagrams

| Image | Part No | Mfg | Description | ![]() |
Pricing (USD) |
Quantity | ||||
|---|---|---|---|---|---|---|---|---|---|---|
![]() |
![]() ST72C334N4B6 |
![]() STMicroelectronics |
![]() 8-bit Microcontrollers (MCU) Flash 16K SPI/SCI |
![]() Data Sheet |
![]() Negotiable |
|
||||
| Image | Part No | Mfg | Description | ![]() |
Pricing (USD) |
Quantity | ||||
![]() |
![]() ST72101 |
![]() Other |
![]() |
![]() Data Sheet |
![]() Negotiable |
|
||||
![]() |
![]() ST72101G1 |
![]() Other |
![]() |
![]() Data Sheet |
![]() Negotiable |
|
||||
![]() |
![]() ST72104G |
![]() Other |
![]() |
![]() Data Sheet |
![]() Negotiable |
|
||||
![]() |
![]() ST72104G1 |
![]() Other |
![]() |
![]() Data Sheet |
![]() Negotiable |
|
||||
![]() |
![]() ST72124J |
![]() Other |
![]() |
![]() Data Sheet |
![]() Negotiable |
|
||||
![]() |
![]() ST72141 |
![]() Other |
![]() |
![]() Data Sheet |
![]() Negotiable |
|
||||
(Hong Kong)










