Product Summary
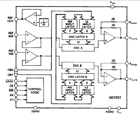
The AD7237JN is a 12-Bit D/A Converter. Improvements include operation from 12 V to 15 V supplies, faster interface times and better reference variations with VDD. Additional features include faster settling times. The AD7237JN is a complete, dual, 12-bit, voltage output digital-to-analog converter with output amplifiers and Zener voltage reference on a monolithic CMOS chip. No external user trims are required to achieve full specified performance.
Parametrics
AD7237JN absolute maximum ratings: (1)VDD to AGND, DGND: -0.3 V to +17 V; (2)VDD to VSS: -0.3 V to +34 V; (3)AGND to DGND: -0.3 V, VDD +0.3 V; (4)VOUTA, VOUTB to AGND (GND): VSS -0.3 V to VDD +0.3 V; (5)REF OUT to AGND (GND): 0 V to VDD; (6)REF IN to AGND (GND): -0.3 V to VDD +0.3 V; (7)Digital Inputs to DGND (GND): -0.3 V to VDD +0.3 V; (8)Operating Temperature Range, Industrial (A, B Versions): -40℃ to +85℃; Extended (T Version): -55℃ to +125℃; (9)Storage Temperature Range: -65℃ to +150℃; (10)Lead Temperature (Soldering, 10 secs): +300℃; (11)Power Dissipation (Any Package) to +75℃: 1000 mW; (12)Derates above +75℃ by: 10 mW/℃.
Features
AD7237JN features: (1)Complete Dual 12-Bit DAC Comprising: Two 12-Bit CMOS DACs; On-Chip Voltage Reference; Output Amplifiers; Reference Buffer Amplifiers; (2)Improved AD7237/AD7247: 12 V to 15 V Operation; (3)Faster Interface –30 ns typ Data Setup Time; (4)Parallel Loading Structure: AD7247A; (5)(8+4) Loading Structure: AD7237A; (6)Single or Dual Supply Operation; (7)Low Power—165 mW typ in Single Supply.
Diagrams

| Image | Part No | Mfg | Description |  | Pricing (USD) | Quantity | ||||||||||||||||
|---|---|---|---|---|---|---|---|---|---|---|---|---|---|---|---|---|---|---|---|---|---|---|
|  |  AD7237JN |  Analog Devices Inc |  IC DAC 12BIT LC2MOS DUAL 24-DIP |  Data Sheet |  
 |  | ||||||||||||||||
|  |  AD7237JNZ |  |  IC DAC 12BIT LC2MOS DUAL 24-DIP |  Data Sheet |  
 |  | ||||||||||||||||
 (Hong Kong)
 (Hong Kong) 
                         
                        
 
                                    




