Product Summary
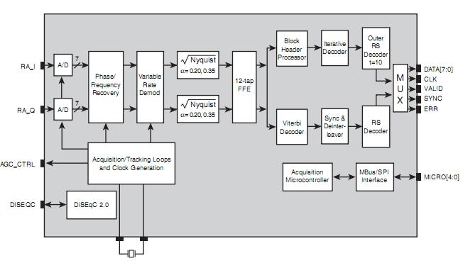
The BCM4500KQMG is an advanced modulation satellite receiver. It brings a new level of performance to the satellite television industry with the introduction of an integrated advanced modulation receiver and turbo FEC decoder. The BCM4500KQMG contains dual 7-bit A/D converters, an all-digital variable rate BPSK/QPSK/8PSK/16QAM receiver, an advanced modulation turbo FEC decoder, and a DVB/DIRECTV/DCII compliant FEC decoder. The BCM4500KQMG features a simplified user interface employing an on-chip microcontroller for all system configuration, acquisition, control, and monitoring functions.
Parametrics
BCM4500KQMG general specifications: (1)Number of Digits: 20; (2)Number of Segments:160; (3)Maximum Clock Frequency:400KHz; (4)Operating Supply Voltage:8.50V; (5)Maximum Supply Current:0.12mA; (6)Maximum Power Dissipation:400mW; (7)Maximum Operating Temperature:+180℃; (8)Minimum Operating Temperature:-80℃.
Features
BCM4500KQMG features: (1)256-kilobaud to 30-megabaud variable rate receiver; (2)Supports BPSK, QPSK, 8PSK, & 16QAM modulation; (3)Dual integrated 7-bit A/D converters; (4)Digital square-root Nyquist filters (a=0.2, 0.35); (5)All-digital clock and carrier recovery; (6)12-tap adaptive equalizer; (7)High performance decoder approaches constrained capacity theoretical limits; (8)Supports QPSK rates 1/4, 1/2 and 3/4 ; (9)8PSK flexible code rate support including 2/3, 3/4, 5/6 and 8/9; (10)Supports 16QAM rate 3/4; (11)No external RAM support required; (12)Reed-Solomon decoder; t=10; (13)Complies with DVB/DIRECTV/Digicipher IITM FEC decoder; (14)MPEG-2 or DIRECTV output interface with output clock PLL; (15)On-chip microcontroller for acquisition and tracking; (16)On-chip BERT for BER testing; (17)Integrated DiSEqCTM (v2.0) transmitter and receiver; (18)128-pin PQFP; (19)3.3V I/O and analog operation; (20)1.8V digital operation.
Diagrams

| Image | Part No | Mfg | Description | ![]() |
Pricing (USD) |
Quantity | ||||
|---|---|---|---|---|---|---|---|---|---|---|
![]() |
![]() BCM4500KQMG |
![]() Other |
![]() |
![]() Data Sheet |
![]() Negotiable |
|
||||
| Image | Part No | Mfg | Description | ![]() |
Pricing (USD) |
Quantity | ||||
![]() |
![]() BCM4130KQTE |
![]() Other |
![]() |
![]() Data Sheet |
![]() Negotiable |
|
||||
![]() |
![]() BCM4201 |
![]() Other |
![]() |
![]() Data Sheet |
![]() Negotiable |
|
||||
![]() |
![]() BCM4312 |
![]() Other |
![]() |
![]() Data Sheet |
![]() Negotiable |
|
||||
![]() |
![]() BCM4318E |
![]() Other |
![]() |
![]() Data Sheet |
![]() Negotiable |
|
||||
![]() |
![]() BCM4322 |
![]() Other |
![]() |
![]() Data Sheet |
![]() Negotiable |
|
||||
![]() |
![]() BCM4323 |
![]() Other |
![]() |
![]() Data Sheet |
![]() Negotiable |
|
||||
(Hong Kong)









