Product Summary
The PE-65554 is a surface mount common mode choke suited for lan and telecom applications.
Features
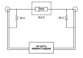
PE-65554 features: (1)Reduces radiated EMI emissions; (2)Filters common mode noise for EMI reduction; (3)Common mode attenuation from 100 kHz to 1 GHz; (4)Tape & Reel packaging available for surface mount parts.
Diagrams

| Image | Part No | Mfg | Description | ![]() |
Pricing (USD) |
Quantity | ||||||||||||
|---|---|---|---|---|---|---|---|---|---|---|---|---|---|---|---|---|---|---|
![]() |
![]() PE-65554NL |
![]() Pulse |
![]() Common Mode Inductors (Chokes) TRANSFORMER DUAL |
![]() Data Sheet |
![]()
|
|
||||||||||||
![]() |
![]() PE-65554 |
![]() Pulse |
![]() Common Mode Inductors (Chokes) 8P 4 LINE 1:1:1:1 |
![]() Data Sheet |
![]() Negotiable |
|
||||||||||||
(Hong Kong)












