Product Summary
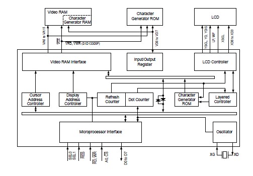
The S1D13505F00A2 is a controller IC that can displaytext and graphics on LCD panel.The S1D13505F00A2 can display layered text and graphics,scroll the display in any direction and partition thedisplay into multiple screens.The S1D13505F00A2 stores text, character codes and bitmappedgraphics data in external frame buffer memory.
Parametrics
S1D13505F00A2 absolute maximum ratings: (1)Supply voltage range VDD: –0.3 to 7.0V; (2)Input voltage range VIN: –0.3 to VDD + 0.3 V; (3)Power dissipation PD: 300 mW; (4)Operating temperature range Topg: –20 to 75 °C; (5)Storage temperature range Tstg: –65 to 150 °C; (6)Soldering temperature (10 seconds): 260 °C.
Features
S1D13505F00A2 features: (1)Text, graphics and combined text/graphics display modes; (2)Three overlapping screens in graphics mode; (3)Up to 640 256 pixel LCD panel display resolution; (4)Programmable cursor control; (5)Smooth horizontal and vertical scrolling of all or part of the display; (6)1/2-duty to 1/256-duty LCD drive; (7)Up to 640 256 pixel LCD panel display resolution memory; (8)160, 5 7 pixel characters in internal mask-programmed character generator ROM; (9)Up to 64, 8 16 pixel characters in external character generator RAM; (10)Up to 256, 8 16 pixel characters in external character; (11)generator ROM; (12)6800 and 8080 family microprocessor interfaces; (13)Low power consumption.5 mA operating current (VDD = 3.5V), 0.05 mA standby current; (14)Package.
Diagrams

| Image | Part No | Mfg | Description | ![]() |
Pricing (USD) |
Quantity | ||||||||
|---|---|---|---|---|---|---|---|---|---|---|---|---|---|---|
![]() |
![]() S1D13505F00A200 |
![]() Epson Electronics America |
![]() LCD Drivers LCD Controllers |
![]() Data Sheet |
![]()
|
|
||||||||
| Image | Part No | Mfg | Description | ![]() |
Pricing (USD) |
Quantity | ||||||||
![]() |
![]() S1D13305 |
![]() Other |
![]() |
![]() Data Sheet |
![]() Negotiable |
|
||||||||
![]() |
![]() S1D13305F00A1 |
![]() Other |
![]() |
![]() Data Sheet |
![]() Negotiable |
|
||||||||
![]() |
![]() S1D13305F00A2 |
![]() Other |
![]() |
![]() Data Sheet |
![]() Negotiable |
|
||||||||
![]() |
![]() S1D13305F00B1 |
![]() Other |
![]() |
![]() Data Sheet |
![]() Negotiable |
|
||||||||
![]() |
![]() S1D13305F00B2 |
![]() Other |
![]() |
![]() Data Sheet |
![]() Negotiable |
|
||||||||
![]() |
![]() S1D13502F00B200 |
![]() Epson Electronics America |
![]() LCD Drivers LCD CONTROLLER |
![]() Data Sheet |
![]() Negotiable |
|
||||||||
(Hong Kong)










