Product Summary
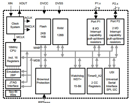
The msp430g2231ipw14r is a mixed signal microcontroller. The Texas Instruments MSP430 family of ultralow-power microcontrollers consists of several devices featuring different sets of peripherals targeted for various applications. The architecture, combined with five low-power modes, is optimized to achieve extended battery life in portable measurement applications. The device features a powerful 16-bit RISC CPU, 16-bit registers, and constant generators that contribute to maximum code efficiency. The digitally controlled oscillator (DCO) allows wake-up from low-power modes to active mode in less than 1μs. The msp430g2231ipw14r series is an ultralow-power mixed signal microcontroller with a built-in 16-bit timer and ten I/O pins. The msp430g2231ipw14r family members have a 10-bit A/D converter and built-in communication capability using synchronous protocols (SPI or I2C).
Parametrics
msp430g2231ipw14r absolute maximum ratings: (1)Voltage applied at VCC to VSS: -0.3 V to 4.1 V; (2)Voltage applied to any pin (see Note 2): -0.3 V to VCC+0.3 V; (3)Diode current at any device terminal: ±2 mA; (4)Storage temperature, Tstg: -55°C to 150°C; (5)Storage temperature, Tstg: -40 °C to 85°C.
Features
msp430g2231ipw14r features: (1)Low Supply Voltage Range 1.8 V to 3.6 V; (2)Ultralow Power Consumption; (3)Five Power-Saving Modes; (4)Ultrafast Wake-Up From Standby Mode in Less Than 1 μs; (5)16-Bit RISC Architecture, 62.5 ns Instruction Cycle Time; (6)Basic Clock Module Configurations; (7)16-Bit Timer_A With Two Capture/Compare Registers; (8)Universal Serial Interface (USI) Supporting SPI and I2C; (9)Brownout Detector; (10)10-Bit 200-ksps A/D Converter With Internal Reference, Sample-and-Hold, and Autoscan; (11)Serial Onboard Programming, No External Programming Voltage Needed Programmable Code Protection by Security Fuse; (12)On-Chip Emulation Logic With Spy-Bi-Wire Interface.
Diagrams

| Image | Part No | Mfg | Description | ![]() |
Pricing (USD) |
Quantity | ||||||||||||
|---|---|---|---|---|---|---|---|---|---|---|---|---|---|---|---|---|---|---|
![]() |
![]() MSP430G2231IPW14R |
![]() Texas Instruments |
![]() 16-bit Microcontrollers (MCU) Mixed Signal Micro controller |
![]() Data Sheet |
![]()
|
|
||||||||||||
| Image | Part No | Mfg | Description | ![]() |
Pricing (USD) |
Quantity | ||||||||||||
![]() |
![]() MSP4120 |
![]() Other |
![]() |
![]() Data Sheet |
![]() Negotiable |
|
||||||||||||
![]() |
![]() MSP4200 |
![]() Other |
![]() |
![]() Data Sheet |
![]() Negotiable |
|
||||||||||||
![]() |
![]() MSP430×11× |
![]() Other |
![]() |
![]() Data Sheet |
![]() Negotiable |
|
||||||||||||
![]() |
![]() MSP430×11×2 |
![]() Other |
![]() |
![]() Data Sheet |
![]() Negotiable |
|
||||||||||||
![]() |
![]() MSP430×12×2 |
![]() Other |
![]() |
![]() Data Sheet |
![]() Negotiable |
|
||||||||||||
![]() |
![]() MSP430×21×1 |
![]() Other |
![]() |
![]() Data Sheet |
![]() Negotiable |
|
||||||||||||
(Hong Kong)










