Product Summary
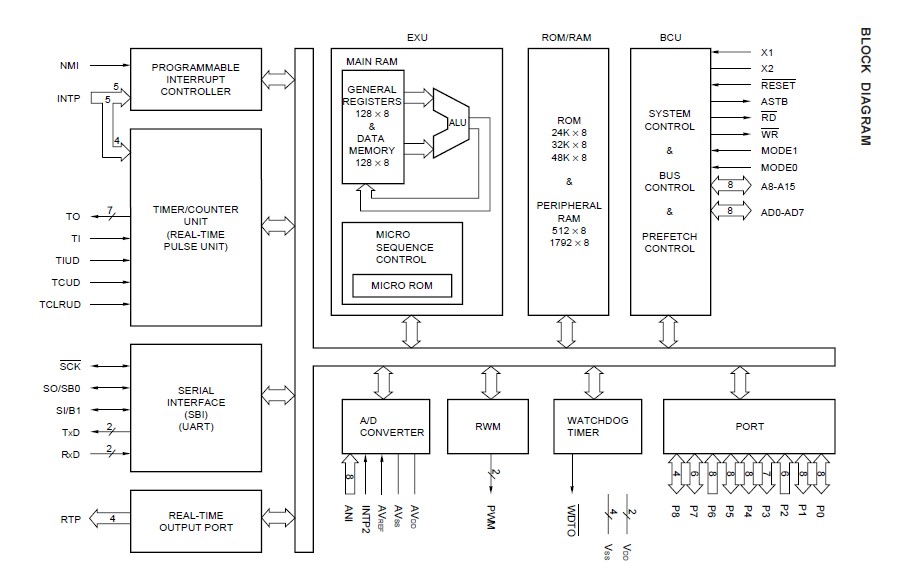
The UPD78365AGF is a 16/8-bit single-chip microcontroller. The UPD78365AGF is provided with a high-speed, high-performance CPU and powerful operation function. Unlike the existing UPD78365AGF is also provided with a high-resolution PWM signal output function which substantially contributes to improving the performance of the inverter control. Applications are (1)Inverter air conditioner; (2)Factory automation fields, such as industrial robots and machine tools.
Parametrics
UPD78365AGF absolute maximum ratings: (1)Power supply voltage, VDD: –0.5 to +7.0 V; AVDD: –0.5 to VDD + 0.5 V; AVSS: –0.5 to +0.5 V; (2)Input voltage, VI, Pins other than P70/ANI0-P77/ANI7: –0.5 to VDD + 0.5 V; (3)Output voltage, VO: –0.5 to VDD + 0.5 V; (4)Low-level output current, IOL, Note: 20 mA; Output pins other than those in the note: 4.0 mA; Total of all output pins: 200 mA; (5)High-level output current IOH All output pins –3.0 mA; (6)Total of all output pins –25 mA; (7)Analog input voltage, VIAN, P70/ANI0-P77/ANI7 pins: AVSS – 0.5 to AVDD + 0.5 V; (8)A/D converter reference input voltage, AVREF: AVSS – 0.5 to AVDD + 0.5 V; (9)Operating ambient temperature, TA: –40 to +85 °C; (10)Storage temperature, Tstg: –60 to +150 °C.
Features
UPD78365AGF features: (1)Internal 16-bit architecture, external 8-bit data bus; (2)High-speed processing by pipeline control method and high- speed operating clock; (3)Minimum instruction execution time: 125 ns (internal clock: at 16 MHz, external clock: 8 MHz); (4)Real-time pulse unit for inverter control; (5)10-bit resolution A/D converter: 8 channels; (6)8-/9-/10-/12-bit resolution variable PWM signal output function: 2 channels; (7)Powerful serial interface: 2 channels; (8)Internal memory: ROM: none; 2K bytes.
Diagrams

(Hong Kong)






