Product Summary
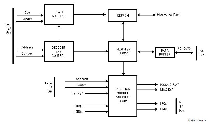
The 95MS14 is a Plug n Play Front-End Device for ISA-Bus System. The 95MS14 includes the necessary state machine logic to manage the Plug n Play protocol in addition to switches for steering Interrupt and DMA requests. The 95MS14 also features a built-in 2k bits of serial EEPROM for storing the resource data specified in the Plug n Play Standard. In addition, 4k bits of EEPROM is available for use by other onboard logic.
Parametrics
95MS14 absolute maximum ratings: (1)Ambient Storage Temperature: -65°C to 150°C; (2)All Input or Output Voltages with Respect to Ground: VCC +1V to 0.3V; (3)Lead Temperature (Soldering, 10 seconds): 300°C; (4)ESD Rating: 2000V Min; (5)ICCA Active Power Supply Current fSCL e 100 kHz: 10.0 mA.
Features
95MS14 features: (1)Complete implementation of Plug n Play standard: Direct interface to ISA bus; (2)Two modes of operation: DMA mode, Extended Interrupt mode; (3)6 or 8 ISA bus interrupt lines and 2 DRQ/DACK lines supported; (4)On-chip EEPROM for resource request table; (5)Additional 4 Kbits of on-chip EEPROM available for external access; (6)24 mA drivers for data outputs; (7)48-pin TQFP.
Diagrams

(Hong Kong)






