Product Summary
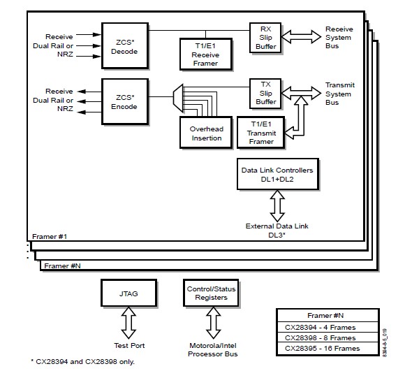
The CX28394-22 is a multiple framer for T1/E1/J1 and Integrated Service Digital Network (ISDN) primary rate interfaces operating at 1.544 Mbps or 2.048 Mbps. The CX28394-22 is totally independent, and each combines a sophisticated framing synchronizer and transmit/receive slip buffers. Applications are (1)Multiline T1/E1 Channel Service Unit/Data Service Unit (CSU/DSU); (2)Digital Access Cross-Connect System (DACS); (3)T1/E1 Multiplexer (MUX); (4)PBXs and PCM channel bank; (5)ISDN Primary Rate Access (PRA); (6)Frame Relay Switches and Access Devices (FRADS); (7)SONET/SDH add/drop multiplexers; (8)T3/E3 channelized access concentrators.
Parametrics
CX28394-22 absolute maximum ratings: (1)VDD Power Supply (measured to GND): –0.5 to 5.75 V; (2)VGG High Voltage Reference: –0.5 to 5.75 V; (3)ΔVDD Voltage Differential (between any 2 VDD pins): 0.5 V; (4)Vi Constant Voltage on any Signal Pin: –1.0 to VGG + 0.5 V; (5)Ii Constant Current on any Signal Pin: –10 to +10 mA; (6)LATCHUP Transient Current on any Signal Pin: –200 to +200 mA; (7)Ts Storage Temperature: –65 to 150 °C; (8)Tj Junction Temperature: (θjA x VDD x IDD)+ Tamb: –40 to 125 °C; (9)Tvsol Vapor Phase Soldering Temperature (1 minute): 220 °C.
Features
CX28394-22 features: (1)Up to 16 T1/E1/J1 Framers in one package; (2)Extensive support of various protocols; (3)T1: SF, ESF, SLC96, T1DM, TTC JT(J1); (4)E1: PCM-30, G.704, G.706, G.732, ISDN primary rate (ETS300 011, INS 500); (5)Extracts and inserts signaling bits; (6)Dual HDLC controllers per framer for data link and LAPD/SS7 signaling; (7)Two-frame transmit and receive PCM slip buffers; (8)Separate or multiplexed system bus interfaces; (9)Parallel 8-bit microprocessor port supports Intel or Motorola buses; (10)BERT generation and counting; (11)B8ZS/HDB3/Bit 7 zero suppression (CX28394 and CX28398 only); (12)Operates from a single +3.3 Vdc ± 5% power supply; (13)Low-power CMOS technology.
Diagrams

(Hong Kong)






