Product Summary
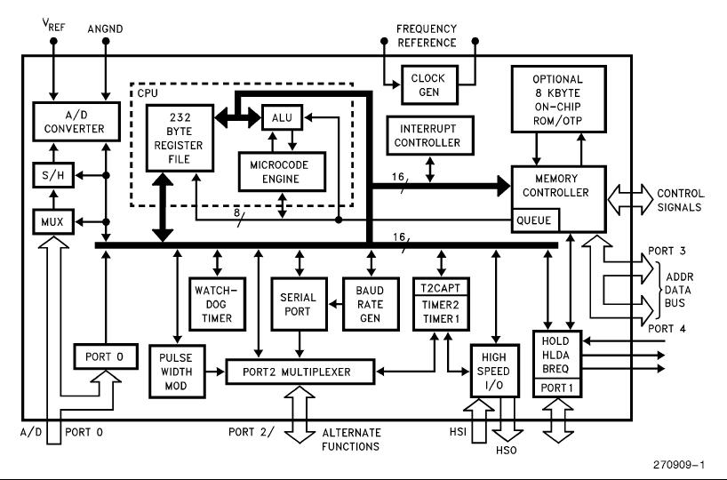
The N87C196KB-16 is a 16-bit microcontroller available in three different memory varieties: ROMless (80C196KB), 8K ROM (83C196KB) and 8K OTP (One Time ProgrammableD87C196KB). The N87C196KB-16 is a high performance member of the MCS 96 microcontroller family. The N87C196KB-16 has the same peripheral set as the 8096BH and has a true superset of the 8096BH instructions. Intel’s CHMOS process provides a high performance processor along with low power consumption. To further reduce power requirements, the processor can be placed into Idle or Power down Mode.
Parametrics
N87C196KB-16 absolute maximum ratings: (1)Ambient Temperature Under Bias: -55℃ to +125℃; (2)Storage Temperature: -65℃ to +150℃; (3)Voltage On Any Pin to VSS: -0.5V to +7.0V; (4)Power Dissipation: 1.5W.
Features
N87C196KB-16 features: (1)8 Kbytes of On-Chip ROM/OTP Available; (2)232 Byte Register File; (3)Register-to-Register Architecture; (4)28 Interrupt Sources/16 Vectors; (5)1.75μs 16 x 16 Multiply (16 MHz); (6)3.0μs 32/16 Divide (16 MHz); (7)Power down and Idle Modes; (8)Five 8-Bit I/O Ports; (9)16-Bit Watchdog Timer; (10)12 MHz and 16 MHz Available; (11)Dedicated 15-Bit Baud Rate Generator; (12)Dynamically Configurable 8-Bit or 16-Bit Buswidth; (13)Full Duplex Serial Port; (14)High Speed I/O Subsystem; (15)16-Bit Timer; (16)16-Bit Up/Down Counter with Capture; (17)Pulse-Width-Modulated Output; (18)Four 16-Bit Software Timers; (19)10-Bit A/D Converter with Sample/Hold; (20)HOLD/HLDA Bus Protocol; (21)Extended Temperature Available.
Diagrams

(Hong Kong)






