Product Summary
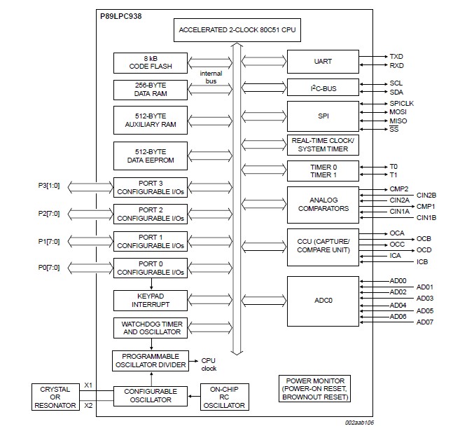
The P89LPC938FA is a single-chip microcontroller, available in low cost packages, based ona high performance processor architecture that executes instructions in two to four clocks,six times the rate of standard 80C51 devices. Many system-level functions have beenincorporated into the P89LPC938FA in order to reduce component count, board space, andsystem cost.
Parametrics
P89LPC938FA absolute maximum ratings: (1)Tamb(bias) operating bias ambient temperature: -55 to +125 °C; (2)Tstg storage temperature range: -65 to +150 °C; (3)Vxtal voltage on XTAL1, XTAL2 pin to VSS, as applicable: VDD to + 0.5 V; (4)Vn voltage on any other pin (except XTAL1, XTAL2) to VSS: -0.5 to +5.5 V; (5)IOH(I/O) HIGH-level output current per I/O pin: 20 mA; (6)IOL(I/O) LOW-level output current per I/O pin: 20 mA; (7)II/O(tot)(max) maximum total I/O current: 100 mA; (8)Ptot(pack) total power dissipation per package based on package heat transfer, not device power consumption: 1.5 W.
Features
P89LPC938FA features: (1)8 kB byte-erasable Flash code memory organized into 1 kB sectors and 64-byte pages. Single-byte erasing allows any byte(s) to be used as non-volatile data storage; (2)256-byte RAM data memory and a 512-byte auxiliary on-chip RAM; (3)512-byte customer Data EEPROM ochip allows serializatioof devices, storage of set-up parameters, etc; (4)8-input multiplexed 10-bit A/D converter. Two analog comparators with selectable inputs and reference source; (5)Two 16-bit counter/timers (each may be configured to toggle a port output upotimer overflow or to become a PWM output) and a 23-bit system timer that caalso be used as a RTC; (6)Enhanced UART with fractional baud rate generator, break detect, framing error detection, and automatic address detection; 400 kHz byte-wide I2C-bus communicatioport and SPI communicatioport; (7)CCU provides PWM, input capture, and output compare functions; (8)High-accuracy internal RC oscillator optioallows operatiowithout external oscillator components. The RC oscillator optiois selectable and fine tunable; (9)2.4 V to 3.6 V VDD operating range. I/O pins are 5 V tolerant (may be pulled up or driveto 5.5 V); (10)28-piTSSOP, PLCC, and HVQFN packages with 23 I/O pins minimum and up to 26 I/O pins while using on-chip oscillator and reset options.
Diagrams

| Image | Part No | Mfg | Description | ![]() |
Pricing (USD) |
Quantity | ||||
|---|---|---|---|---|---|---|---|---|---|---|
![]() |
![]() P89LPC938FA,129 |
![]() NXP Semiconductors |
![]() 8-bit Microcontrollers (MCU) 80C51 8K FL 768B RAM |
![]() Data Sheet |
![]() Negotiable |
|
||||
| Image | Part No | Mfg | Description | ![]() |
Pricing (USD) |
Quantity | ||||
![]() |
![]() P89LPC901 |
![]() Other |
![]() |
![]() Data Sheet |
![]() Negotiable |
|
||||
![]() |
![]() P89LPC901FD,112 |
![]() NXP Semiconductors |
![]() 8-bit Microcontrollers (MCU) 80C51 1K FL 128B RAM |
![]() Data Sheet |
![]() Negotiable |
|
||||
![]() |
![]() P89LPC901FN,129 |
![]() NXP Semiconductors |
![]() 8-bit Microcontrollers (MCU) 80C51 1K FL 128B RAM |
![]() Data Sheet |
![]() Negotiable |
|
||||
![]() |
![]() P89LPC902FD |
![]() NXP Semiconductors |
![]() 8-bit Microcontrollers (MCU) 80C51 1K FL 128B RAM |
![]() Data Sheet |
![]() Negotiable |
|
||||
![]() |
![]() P89LPC902FD,112 |
![]() NXP Semiconductors |
![]() 8-bit Microcontrollers (MCU) 80C51 1K FL 128B RAM |
![]() Data Sheet |
![]() Negotiable |
|
||||
![]() |
![]() P89LPC902FN,129 |
![]() NXP Semiconductors |
![]() 8-bit Microcontrollers (MCU) 80C51 1K FL 128B RAM |
![]() Data Sheet |
![]() Negotiable |
|
||||
(Hong Kong)












