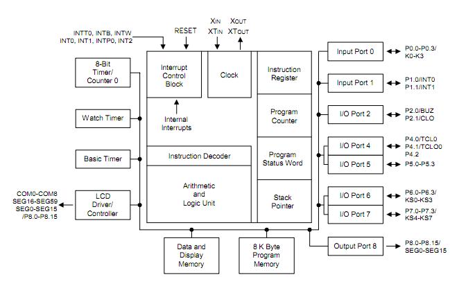
Product Summary
The s3p72e8dzz-coc8 is a SAM47 core-based 4-bit CMOS single-chip microcontroller. It has a timer/counter and LCD drivers. The s3p72e8dzz-coc8 is especially suited for use in data bank, telephone and LCD general purpose. It is built around the SAM47 core CPU and contains ROM, RAM, 39 I/O lines, programmable timer/counter, buzzer output, enough LCD dot matrix, and segment drive pins.
Parametrics
s3p72e8dzz-coc8 absolute maximum ratings: (1)Supply Voltage VDD: -0.3 to +6.5 V; (2)Input Voltage VI: -0.3 to VDD +0.3 V; (3)Output Voltage VO: -0.3 to VDD +0.3 V; (4)High Level IOH One pin: -15 mA; (5)Output current All output pins: -30 mA; (6)Low Level IOL One pin Peak value: 30 mA; (7)Output Current RMS value (note): 15 mA; (8)All pins Peak value: 100 mA; (9)RMS value (note): 60 mA; (10)Operating Temperature, TA: -40 to +85℃; (11)Storage Temperature, TSTG: -65 to +150℃.
Features
s3p72e8dzz-coc8 features: (1)8192 × 8 bit program memory; (2)5120 × 4 bit data memory in S3C72E8; (3)108 × 5 bit display memory; (4)Input: 6 pins; (5)I/O: 17 pins; (6)Output: maximum 16 pins for 1-bit level output (sharing with segment driver outputs); (7)Four internal timer functions; (8)Programmable 8-bit timer; (9)External event counter; (10)Arbitrary clock frequency output; (11)External clock signal divider; (12)Time interval generation: 0,5ms, 3,9ms at 32768Hz; (13)4 frequency (2/4/8/16 kHz) outputs to BUZ pin.
Diagrams

(Hong Kong)






