Product Summary
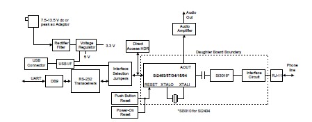
The SI2457-C-FTR is an evaluation board Rev. It provides the system designer an easy way of evaluating the SI2457-C-FTR ISOmodem. The SI2457-C-FTR consists of a motherboard with a power supply, an RS-232 and USB interface, other ease-of-use features, and a complete removable modem module on a daughter card. (A functional block diagram of the SI2457-C-FTR is shown below.)The SI2457-C-FTR ISOmodem is a complete controller-based modem chipset with an integrated and programmable direct access arrangement (DAA)that meets global telephone line requirements. Available as a combination of one 16-pin small line-side device and one 24-pin or 16-pin systemside device, the SI2457-C-FTR ISOmodem eliminates the need for a separate DSP data pump, modem controller, memories, codec, isolation transformer, relays, opto-isolators, and a 2- to 4-wire hybrid. The SI2457-C-FTR is ideal for embedded modem applications due to its small board area, controller-based architecture, low power consumption, and global compliance. The SI2457-C-FTR provides an RJ-11 jack (for interfacing the SI2457-C-FTR to the phone line), and USB and RS232 serial ports for interfacing to a PC or data terminal. This allows the ISOmodem to operate as a serial modem for straightforward evaluation of the SI2457-C-FTR. To evaluate the SI2457-C-FTR ISOmodem in an embedded system, the daughter card can be used independently of or with the motherboard.
Features
SI2457-C-FTR features: (1)Dual RJ-11 connection to phone line; (2)RS-232 and USB interface to PC; (3)Speaker for call monitoring; (4)Direct access to Si2493/57/34/15/04 for embedded application evaluation; (5)Easy power connection to common 7.5 V–13.5 V power supplies or USB port; (6)9 V ac adaptor; (7)Simple installation and operation; (8)EEPROM (24-pin FT only); (9)RS232 lines status display on LEDs.
Diagrams

| Image | Part No | Mfg | Description | ![]() |
Pricing (USD) |
Quantity | ||||||||||||
|---|---|---|---|---|---|---|---|---|---|---|---|---|---|---|---|---|---|---|
![]() |
![]() SI2457-C-FTR |
![]() Silicon Labs |
![]() Telecom Line Management ICs 56kbps V.90 ISOmodem System-Side |
![]() Data Sheet |
![]()
|
|
||||||||||||
| Image | Part No | Mfg | Description | ![]() |
Pricing (USD) |
Quantity | ||||||||||||
![]() |
![]() SI2400-BS |
![]() Silicon Labs |
![]() Telecom Line Management ICs CONTACT SILICON LABS FOR AVAILABILITY |
![]() Data Sheet |
![]() Negotiable |
|
||||||||||||
![]() |
![]() SI2400DC-EVB |
![]() Silicon Labs |
![]() Daughter Cards & OEM Boards SI2400 Daughter Card |
![]() Data Sheet |
![]() Negotiable |
|
||||||||||||
![]() |
![]() SI2400-KSR |
![]() Silicon Labs |
![]() Telecom Line Management ICs 2400b/s System Side |
![]() Data Sheet |
![]() Negotiable |
|
||||||||||||
![]() |
![]() SI2401DC-EVB |
![]() Silicon Labs |
![]() Daughter Cards & OEM Boards SI2401 Daughter Card |
![]() Data Sheet |
![]() Negotiable |
|
||||||||||||
![]() |
![]() SI2401-FS |
![]() Silicon Labs |
![]() Telecom Line Management ICs 2400b/s System Side 3rd Gen DAA Tech |
![]() Data Sheet |
![]()
|
|
||||||||||||
![]() |
![]() Si2404FS10-EVB |
![]() Silicon Labs |
![]() Networking Development Tools 16-pin Si2404+Si3010 ISO modem Eval Board |
![]() Data Sheet |
![]()
|
|
||||||||||||
(Hong Kong)










