Product Summary
The upd789407-a36-p is an 8-BIT SINGLE-CHIP MICROCONTROLLER. The applications of the upd789407-a36-p include Cleaners, washing machines, and refrigerators.
Parametrics
upd789407-a36-p absolute maximum ratings: (1)VCBO, Collector-Base Voltage: 60 V; (2)VCEO, Collector-Emitter Voltage: 50 V; (3)VEBO, Emitter-Base Voltage: 5 V; (4)IC, Collector Current: 150 mA; (5)IB, Base Current: 50 mA; (6)PC, Collector Power Dissipation: 400 mW; (7)TJ, Junction Temperature: 125 ℃; (8)TSTG, Storage Temperature: -55 to 150 ℃.
Features
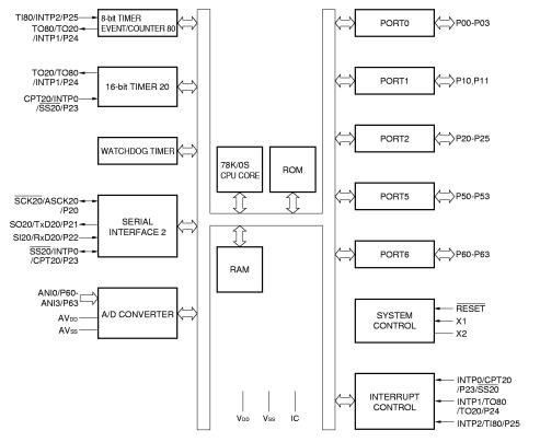
upd789407-a36-p features: (1)Built-in two 8-bit multipliers: 16 bits; (2)ROM and RAM sizes; (3)Variable mininum instruction execution time: from high-speed to low-speed; (4)20 I/O ports; (5)Serial interface channel: Switchable between three-wire serial I/O and UART modes; (6)Four-channel A/D converters with an 8-bit resolution; (7)Three timers: 16-bits timer 20, 8-it timer/event counter 80, watching timer; (8)Power supply voltage VDD: 1.8 to 5.5 V.
Diagrams

(Hong Kong)






