Product Summary
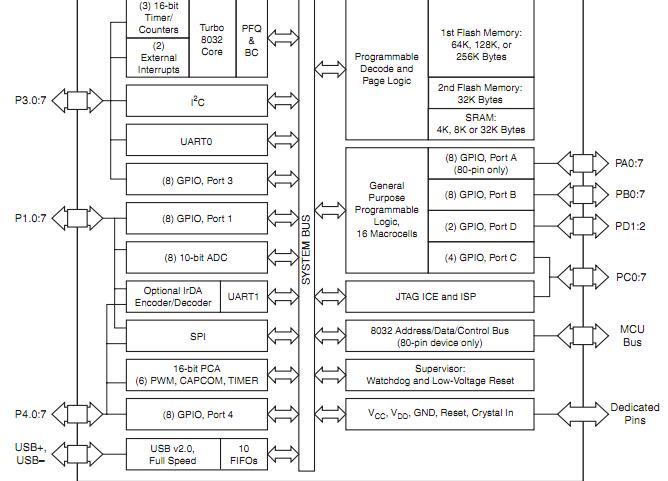
The upsd3434eb40u6 is a Turbo Plus Series Fast Turbo 8032 MCU with USB and Programmable Logic. The upsd3434eb40u6 combines a powerful 8051-based microcontroller with a flexible memory structure, programmable logic, and a rich peripheral mix to form an ideal embedded controller. At the upsd3434eb40u6’s core is a fast 4-cycle 8032 MCU with a 4-byte instruction prefetch queue (PFQ) and a 4-entry fully associative branching cache (BC). The MCU of the upsd3434eb40u6 is connected to a 16-bit internal instruction path to maximize performance, enabling loops of code in smaller localities to execute extremely fast. The 16-bit wide instruction path in the Turbo Plus Series allows double-byte instructions to be fetched from memory in a single memory cycle. This keeps the average performance near its peak performance.
Parametrics
upsd3434eb40u6 absolute maximum ratings: (1)TSTG, Storage Temperature: –65 to 125 ℃; (2)TLEAD, Lead Temperature during Soldering: 235 ℃; (3)VIO, Input and Output Voltage: –0.5 to 6.5 V; (4)VCC, VDD, AVCC, Supply Voltage: –0.5 to 6.5 V; (5)VESD, Electrostatic Discharge Voltage: –2000 to 2000 V.
Features
upsd3434eb40u6 features: (1)Fast 8-bit Turbo 8032 MCU, 40 MHz; (2)Dual Flash memories with memory management; (3)Clock, reset, and power supply management; (4)Programmable logic, general purpose; (5)A/D converter, Eight Channels, 10-bit resolution, 6μs; (6)Communication interfaces, USB v2.0 Full Speed (12Mbps); (7)Timers and interrupts, Three 8032 standard 16-bit timers; (8)Operating voltage source (±10%).
Diagrams

| Image | Part No | Mfg | Description | ![]() |
Pricing (USD) |
Quantity | ||||
|---|---|---|---|---|---|---|---|---|---|---|
![]() |
![]() UPSD3434EB40U6 |
![]() STMicroelectronics |
![]() 8-bit Microcontrollers (MCU) uPSD34x Turbo Plus Fast Turbo 8032 MCU |
![]() Data Sheet |
![]() Negotiable |
|
||||
| Image | Part No | Mfg | Description | ![]() |
Pricing (USD) |
Quantity | ||||
![]() |
![]() uPSD3212A |
![]() Other |
![]() |
![]() Data Sheet |
![]() Negotiable |
|
||||
![]() |
![]() UPSD3212A-40T6 |
![]() STMicroelectronics |
![]() 8-bit Microcontrollers (MCU) Flash Programmable System Devices |
![]() Data Sheet |
![]() Negotiable |
|
||||
![]() |
![]() UPSD3212A-40U6 |
![]() STMicroelectronics |
![]() 8-bit Microcontrollers (MCU) Flash Programmable System Devices |
![]() Data Sheet |
![]() Negotiable |
|
||||
![]() |
![]() uPSD3212C |
![]() Other |
![]() |
![]() Data Sheet |
![]() Negotiable |
|
||||
![]() |
![]() UPSD3212C-40T6 |
![]() STMicroelectronics |
![]() 8-bit Microcontrollers (MCU) 5.0V 512K 40MHz |
![]() Data Sheet |
![]() Negotiable |
|
||||
![]() |
![]() UPSD3212C-40U6 |
![]() STMicroelectronics |
![]() 8-bit Microcontrollers (MCU) 5.0V 512K 40MHz |
![]() Data Sheet |
![]() Negotiable |
|
||||
(Hong Kong)










