Product Summary
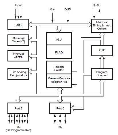
The Z86E0412PSC is a microcontroller. The Z86E0412PSC is one-time programmable (OTP) member of Zilog single-chip Z8 MCU family that allow easy software development, debug, prototyping, and small production runs not economically desirable with masked ROM versions. For applications demanding powerful I/O capabilities, the Z86E0412PSC dedicated input and output line is grouped into three ports, and are configurable under software control to provide timing, status signals, or parallel I/O. Two on-chip counter/timers, with a large number of user selectable modes, offload the system of administering real-time tasks such as counting/timing and I/O data communications.
Parametrics
Z86E0412PSC absolute maximum ratings: (1)Ambient temperature under bias: –40 to +105 C; (2)Storage temperature: –65 to +150 C; (3)Voltage on any pin with respect to VSS: –0.7 to +12 V; (4)Voltage on VDD pin with respect to VSS: –0.3 to +7 V; (5)Voltage on pins 7, 8, 9, 10 with respect to VSS: –0.6 to VDD+1 V; (6)Total power dissipation: 1.65 W; (7)Maximum allowable current out of VSS: 300 mA; (8)Maximum allowable current into VDD: 220 mA; (9)Maximum allowable current into an input pin: –600 to +600 mA; (10)Maximum allowable current into an open-drain pin: –600 to +600 mA; (11)Maximum allowable output current sinked by any I/O pin: 25 mA; (12)Maximum allowable output current sourced by any I/O pin: 25 mA; (13)Total maximum output current sinked by a port: 60 mA; (14)Total maximum output current sourced by a port: 45 mA.
Features
Z86E0412PSC features: (1)14 input/output lines; (2)Six vectored, prioritized interrupts (3 falling edge, 1 rising edge, 2 timers); (3)Two analog comparators; (4)Program options: Low noise; ROM protect; Auto latch; Watch-dog timer (WDT); EPROM/test mode disable; (5)Two programmable 8-bit counter/timers, each with 6-bit programmable prescaler; (6)WDT/ power-oreset (POR); (7)On-chip oscillator that accepts XTAL, ceramic resonance, LC, RC, or external clock; (8)Clock-free WDT reset; (9)Low-power consumptio(50 mw typical); (10)Fast instructiopointer (1 ms @ 12 MHz); (11)RAM bytes (125).
Diagrams

| Image | Part No | Mfg | Description | ![]() |
Pricing (USD) |
Quantity | ||||
|---|---|---|---|---|---|---|---|---|---|---|
![]() |
![]() Z86E0412PSC1860 |
![]() Other |
![]() |
![]() Data Sheet |
![]() Negotiable |
|
||||
![]() |
![]() Z86E0412PSC1866 |
![]() ZiLOG |
![]() 8-bit Microcontrollers (MCU) Z8 1K OPT 12MHz |
![]() Data Sheet |
![]() Negotiable |
|
||||
![]() |
![]() Z86E0412PSC1903 |
![]() ZiLOG |
![]() 8-bit Microcontrollers (MCU) 1K OTP 12MHz OSC |
![]() Data Sheet |
![]() Negotiable |
|
||||
(Hong Kong)










