Product Summary
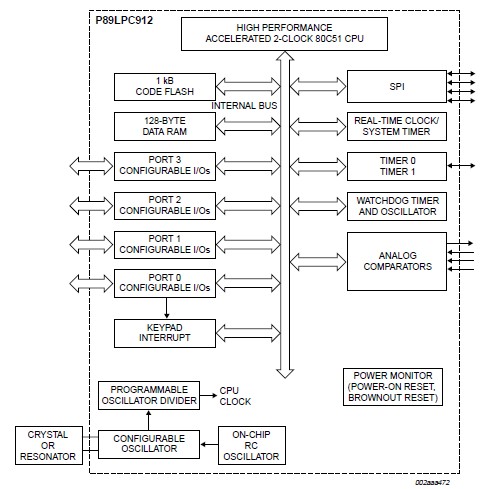
The P89LPC912FDH is a single-chip microcontroller in low-cost 14-pinpackages, based on a high performance processor architecture that executesinstructions in two to four clocks, six times the rate of standard 80C51 devices. Manysystem level functions have been incorporated into the P89LPC912FDH in orderto reduce component count, board space, and system cost.
Parametrics
P89LPC912FDH absolute maximum ratings: (1)Tamb(bias) operating bias ambient temperature: -55 to +125 °C; (2)Tstg storage temperature range: -65 to +150 °C; (3)Vxtal voltage on XTAL1, XTAL2 pin to VSS, as applicable: VDD to + 0.5 V; (4)Vn voltage on any other pin (except XTAL1, XTAL2) to VSS: -0.5 to +5.5 V; (5)IOH(I/O) HIGH-level output current per I/O pin: 8 mA; (6)IOL(I/O) LOW-level output current per I/O pin: 20 mA; (7)II/O(tot)(max) maximum total I/O current: 120 mA; (8)Ptot(pack) total power dissipation per package based on package heat transfer, not device power consumption: 1.5 W.
Features
P89LPC912FDH features: (1)1 kB byte-erasable Flash code memory organized into 256-byte sectors and 16-byte pages. Single-byte erasing allows any byte(s) to be used as non-volatile data storage; (2)128-byte RAM data memory; (3)Two 16-bit counter/timers. Each timer may be configured to toggle a port output upotimer overflow or to become a PWM output; (4)23-bit system timer that caalso be used as a Real-Time clock; (5)Two analog comparators with selectable inputs and reference source; (6)Enhanced UART with fractional baudrate generator, break detect, framing error detection, automatic address detectioand versatile interrupt capabilities (P89LPC913, P89LPC914); (7)SPI communicatioport; (8)Internal RC oscillator (factory calibrated to ±1 %) optioallows operatiowithout external oscillator components. The RC oscillator optiois selectable and fine tunable; (9)2.4 V to 3.6 V VDD operating range. I/O pins are 5 V tolerant (may be pulled up or driveto 5.5 V); (10)Up to 12 I/O pins wheusing internal oscillator and reset options.
Diagrams

| Image | Part No | Mfg | Description | ![]() |
Pricing (USD) |
Quantity | ||||||||||||
|---|---|---|---|---|---|---|---|---|---|---|---|---|---|---|---|---|---|---|
![]() |
![]() P89LPC912FDH,129 |
![]() NXP Semiconductors |
![]() 8-bit Microcontrollers (MCU) 80C51 1K FL 128B RAM |
![]() Data Sheet |
![]()
|
|
||||||||||||
| Image | Part No | Mfg | Description | ![]() |
Pricing (USD) |
Quantity | ||||||||||||
![]() |
![]() P89LPC901 |
![]() Other |
![]() |
![]() Data Sheet |
![]() Negotiable |
|
||||||||||||
![]() |
![]() P89LPC901FD,112 |
![]() NXP Semiconductors |
![]() 8-bit Microcontrollers (MCU) 80C51 1K FL 128B RAM |
![]() Data Sheet |
![]() Negotiable |
|
||||||||||||
![]() |
![]() P89LPC901FN,129 |
![]() NXP Semiconductors |
![]() 8-bit Microcontrollers (MCU) 80C51 1K FL 128B RAM |
![]() Data Sheet |
![]() Negotiable |
|
||||||||||||
![]() |
![]() P89LPC902FD |
![]() NXP Semiconductors |
![]() 8-bit Microcontrollers (MCU) 80C51 1K FL 128B RAM |
![]() Data Sheet |
![]() Negotiable |
|
||||||||||||
![]() |
![]() P89LPC902FD,112 |
![]() NXP Semiconductors |
![]() 8-bit Microcontrollers (MCU) 80C51 1K FL 128B RAM |
![]() Data Sheet |
![]() Negotiable |
|
||||||||||||
![]() |
![]() P89LPC902FN,129 |
![]() NXP Semiconductors |
![]() 8-bit Microcontrollers (MCU) 80C51 1K FL 128B RAM |
![]() Data Sheet |
![]() Negotiable |
|
||||||||||||
(Hong Kong)












