Product Summary
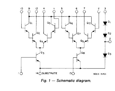
The ca3051 is a dual differential amplifier, with associated constant current transistors on a common substrate. It is driven by darlingto-connected emitter follower inputs to provide high input impedance, low bias current, and low offset current. A string of diodes is included to provide temperature-compensated bias to the constant current transistors and a low impedance bias point for the inputs to the differential amplifiers when a single power supply is used. The ca3051 is supplied in a dual-in-line plastic package for applications requiring only a limited temperature range of -25℃ to + 85℃.
Parametrics
ca3051 absolute maximum ratings: (1)power dissipation any one transistor: 150mW; (2)power dissipation total package: 750mW; (3)power dissipation for TA > 55 ℃: 6.67mW/℃; (4)operating temperature range: -40 to 85℃; (5)storage temperature range: -65 to 150℃; (6)lead temperature at distance 1/16 ± 1/32 inch from case for 10 seconds max: + 265℃; (7)collector-to-emitter voltage, VCEO: 15V; (8)collector-to-base voltage, VCBO: 20V; (9)collector-to-substrate voltage, VCIO: 20V; (10)emitter-to-base voltage, VEBO: 5V; (11)collector current, IC: 50mA.
Features
ca3051 features: (1)input offset current: 70 nA max.; (2)input bias current: 500 nA max.; (3)input offset voltage: 5mV max.; (4)input impedance: 460kΩ typ.; (5)independently accessible inputs and outputs.
Diagrams

(Hong Kong)






