Product Summary
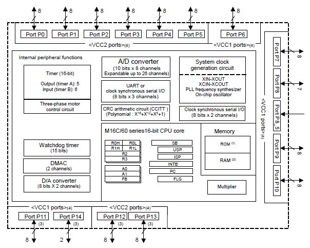
The m30626fjpfp is a single-chip microcomputer built using the high performance silicon gate CMOS process using a M16C/60 Series CPU core and are packaged in a 100-pin plastic molded QFP. The m30626fjpfp operates using sophisticated instructions featuring a high level of instruction efficiency.
Parametrics
m30626fjpfp absolute maximum ratings: (1)Supply Voltage VCC1=AVCC, VCC1, VCC2: -0.3 to 6.5V; (2)Supply Voltage VCC2, VCC2: -0.3 to VCC1+0.1V; (3)Analog Supply Voltage VCC1=AVCC, AVCC: -0.3 to 6.5V; (4)Power Dissipation -40℃
Features
m30626fjpfp features: (1)Low Power Dissipation Mode Wait Mode Release Time; (2)Brown-out Detection Reset (Hardware Reset 2) Release Wait Time; (3)Low Voltage Detection Circuit Operation Start Time.
Diagrams

| Image | Part No | Mfg | Description | ![]() |
Pricing (USD) |
Quantity | ||||||
|---|---|---|---|---|---|---|---|---|---|---|---|---|
![]() |
![]() M30626FJPFP#D5C |
![]() Renesas Technology America |
![]() MCU 3/5V 512K 100-QFP |
![]() Data Sheet |
![]() Negotiable |
|
||||||
![]() |
![]() M30626FJPFP#U3C |
![]() |
![]() IC M16C/62P MCU FLSH 512K 100QFP |
![]() Data Sheet |
![]()
|
|
||||||
![]() |
![]() M30626FJPFP#U9C |
![]() |
![]() IC M16C/62P MCU FLASH 100QFP |
![]() Data Sheet |
![]() Negotiable |
|
||||||
![]() |
![]() M30626FJPFP#U5C |
![]() |
![]() IC M16C MCU FLASH 512K 100QFP |
![]() Data Sheet |
![]()
|
|
||||||
![]() |
![]() M30626FJPFP#U7C |
![]() |
![]() IC M16C/62P MCU FLASH 100QFP |
![]() Data Sheet |
![]()
|
|
||||||
(Hong Kong)










