Product Summary
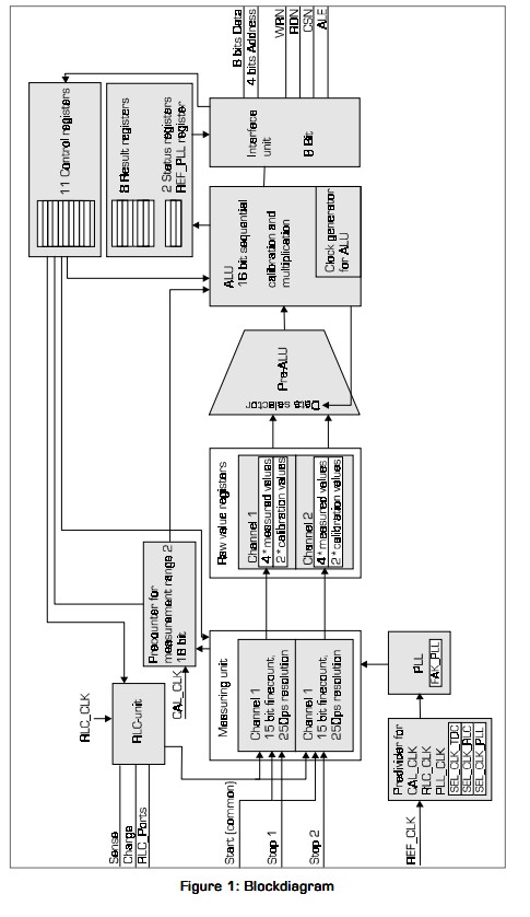
The tdc-gp1 is a General Purpose TDC. These chips transform time intervals into digital values with highest precision. The tdc-gp1 can therefore be described as analogies to ADCs (Analogue to Digital Converter), which have the same function with analogous voltage. Although this definition would permit wrist watches or simple digital meters to be considered TDCs, the term TDC is used only to describe high precision time measuring devices.
Parametrics
tdc-gp1 absolute maximum ratings: (1)Supply voltage VDD: -0.3 to 7.0 V; (2)Input signal voltage Vi: -0.3 to VDD+0.3V V; (3)Input pin current: -10.0 to +10.0 mA; (4)Storage temperature Tst: -55 to +125 °C; (5)Lead temperature: 300 °C for 10 sec.
Features
tdc-gp1 features: (1)2 channels with 250 ps resolution or 1 channel with 125ps resolution; (2)4-fold multihit capabilities per channel Queuing for up to 8-fold multihit; (3)Resolution on both channels absolutely identical.; (4)Double pulse resolution approx. 15 ns; (5)Retriggerability; (6)2 measurement ranges.
Diagrams

(Hong Kong)






