Product Summary
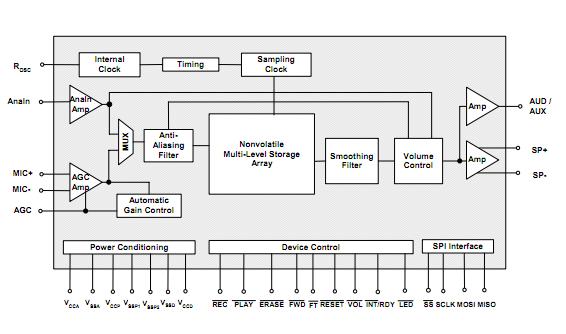
The isd17150sy is a high quality, fully integrated, single-chip multi-message voice record and playback device ideally suited to a variety of electronic systems. The message duration of the isd17150sy is user selectable in ranges from 26 seconds to 120 seconds, depending on the specific device. The sampling frequency of the isd17150sy can also be adjusted from 4 kHz to 12 kHz with an external resistor, giving the user greater flexibility in duration versus recording quality for each application. Operating voltage spans a range from 2.4 V to 5.5 V to ensure that the isd17150sy device is optimized for a wide range of battery or line-powered applications.
Parametrics
isd17150sy absolute maximum ratings: (1)Junction temperature: 1500 ℃; (2)Storage temperature range: -650 to +1500 ℃; (3)Voltage Applied to any pads: (VSS - 0.3 V) to (VCC + 0.3 V); (4)Power supply voltage to ground potential: -0.3 V to +7.0 V.
Features
isd17150sy features: (1)REC: level-trigger for recording; (2)PLAY: edge-trigger for individual message or level-trigger for looping playback sequentially; (3)ERASE: edge-triggered erase for first or last message or level-triggered erase for all messages; (4)FWD: edge-trigger to advance to the next message or fast message scan during the playback; (5)VOL: 8 levels output volume control; (6)INT RDY: ready or busy status indication; (7)RESET: return to the default state; (8)Automatic power-down after each operation cycle.
Diagrams

| Image | Part No | Mfg | Description | ![]() |
Pricing (USD) |
Quantity | ||||||
|---|---|---|---|---|---|---|---|---|---|---|---|---|
![]() |
![]() ISD17150SY |
![]() |
![]() IC VOICE REC/PLAY 150SEC 28-SOIC |
![]() Data Sheet |
![]()
|
|
||||||
![]() |
![]() ISD17150SY01 |
![]() |
![]() IC VOICE REC/PLAY 150SEC 28-SOIC |
![]() Data Sheet |
![]() Negotiable |
|
||||||
![]() |
![]() ISD17150SYI |
![]() |
![]() IC VOICE REC/PLAY 150SEC 28-SOIC |
![]() Data Sheet |
![]() Negotiable |
|
||||||
![]() |
![]() ISD17150SYI01 |
![]() |
![]() IC VOICE REC/PLAY 150SEC 28-SOIC |
![]() Data Sheet |
![]() Negotiable |
|
||||||
![]() |
![]() ISD17150SYIR |
![]() |
![]() IC VOICE REC/PLAY 150SEC 28-SOIC |
![]() Data Sheet |
![]() Negotiable |
|
||||||
![]() |
![]() ISD17150SYR |
![]() |
![]() IC VOICE REC/PLAY 150SEC 28-SOIC |
![]() Data Sheet |
![]() Negotiable |
|
||||||
(Hong Kong)









